Question 213Steam Plants - 1st Asst/Chief
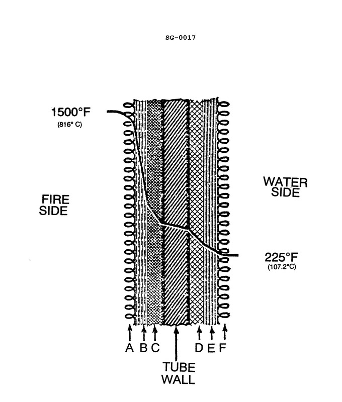
70% to passWhich area shown in the illustration will offer the most resistance to heat transfer from the fireside to the waterside of a boiler tube? Illustration SG-0017

The correct answer is B. The area labeled B in the illustration will offer the most resistance to heat transfer from the fireside to the waterside of a boiler tube. This is because the tube scale, which is a layer of deposits that forms on the inside of the boiler tube, acts as an insulator and inhibits the efficient transfer of heat from the fire to the water. The tube scale has a much lower thermal conductivity compared to the metal of the boiler tube, making it the area that presents the greatest resistance to heat transfer. The other options, A, C, and D, represent the metal of the boiler tube, the water, and the fire, respectively, which all have higher thermal conductivity and therefore offer less resistance to heat transfer compared to the tube scale.
Ready to test your knowledge?
Take a Steam Plants - 1st Asst/Chief Practice ExamWant to practice with timed exams?
Download Coast Guard Exams for the full exam experience.
Get the App